Questions for: Internal Forces

The axial forces act on the shaft as shown. Determine the internal axial force at points A and B.

A force of 500 N acts at the top of the two-member frame. If the members are in smooth contact with one another at A, B, and C with no fasteners, determine the shear force developed at a horizontal section through point D of the support. Also, what are the axial force, shear force and moment at point E?
Discuss About this Question.

Determine the internal axial force, shear force, and moment at point E of the oleo strut AB of the aircraft landing gear.
Discuss About this Question.

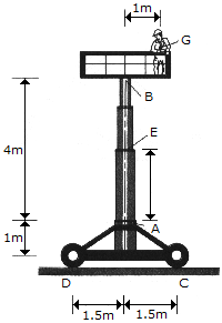
The work platform supports an 80-kg man having a mass center at G. Determine the axial force, shear force, and bending moment at point E of the telescopic column AB due to the load of the man only.
Discuss About this Question.

Determine the internal axial force, shear force, and moment at point F of the frame.
Discuss About this Question.
Discuss About this Question.