Exercise: Force System Resultants

Questions for: Force System Resultants

Determine the magnitude and direction of the couple shown.

A:
M = 1200 N-m CW
B:
M = 400 N-m CCW
C:
M = 400 N-m CW
D:
M = 1200 N-m CCW
Answer: A
No answer description is available. Let's discuss.

Determine the moment of the force at A about point P. Use a vector analysis and express the result in Cartesian vector form.

A:
MP = (-6i+6j-4k) N-m
B:
MP = (24i+8j+9k) N-m
C:
MP = (-6i-6j-4k) N-m
D:
MP = (24i-8j +9k) N-m
Answer: C
No answer description is available. Let's discuss.

Replace the loading system acting on the post by an equivalent force and couple system at point O.

A:
F = (-8i-66j) lb, M = 220 lb-ft
B:
F = (-8i-66j) lb, M = 160 lb-ft
C:
F = (4i78j) lb, M = 220 lb-ft
D:
F = (4i78j) lb, M = 100 lb-ft
Answer: D
No answer description is available. Let's discuss.

Determine the couple moment. Use a vector analysis and express the result as a Cartesian vector.

A:
M = (800i-4800j-800k) lb-ft
B:
M = (4000i-2000j+4000k) lb-ft
C:
M = (-4000i+7000j-4000k) lb-ft
D:
M = (-800i-4800j-800k) lb-ft
Answer: B
No answer description is available. Let's discuss.

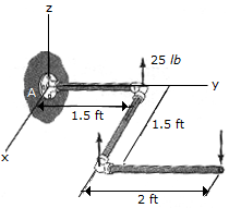
A force and couple act on the pipe assembly. Replace this system by an equivalent single resultant force. Specify the location of the resultant force along the y axis, measured from A. The pipe lies in the x-y plane.

A:
R = 25k lb, y = -0.9 ft
B:
R = 25k lb, y = 0.9 ft
C:
R = 25k lb, y = 3.9 ft
D:
R = 25k lb, y = -3.9 ft
Answer: A
No answer description is available. Let's discuss.
Ad Slot (Above Pagination)
Quiz