Exercise: Force System Resultants

Questions for: Force System Resultants

Determine the moment of the force at A about point P. Use a vector analysis and express the result in Cartesian vector form.

A:
MP = (160i+240j+40k) N-m
B:
MP = (380i+160j+400k) N-m
C:
MP = (280i+200j+400k) N-m
D:
MP = (40i+80k) N-m
Answer: D
No answer description is available. Let's discuss.

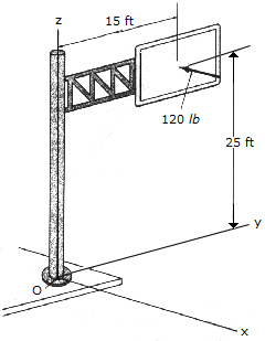
The resultant force of a wind loading acts perpendicular to the face of the sign as shown. Replace this force by an equivalent force and couple moment acting at point O.

A:
F = -120i lb, M = (-3000j+1800k) lb-ft
B:
F = -120i lb, M = 3500i lb-ft
C:
F = -120i lb, M = -3500j lb-ft
D:
F = -120i lb, M = 3500k lb-ft
Answer: A
No answer description is available. Let's discuss.

Replace the force F, having a magnitude of F = 40 lb and acting at B, by an equivalent force and couple moment at A.

A:
F = (32i-24k) lb, M = (-120i+96j-160k) lb-ft
B:
F = (32i-24k) lb, M = 233k lb-ft
C:
F = (32i-24k) lb, M = -72k lb-ft
D:
F = (32i-24k) lb, M = (-120i+160j+40k) lb-ft
Answer: A
No answer description is available. Let's discuss.

A twist of 4 N-m is applied to the handle of the screwdriver. Resolve this couple moment into a pair of couple forces F exerted on the handle.

A:
P = 20 N
B:
P = 10 N
C:
P = 800 N
D:
P = 1600 N
Answer: C
No answer description is available. Let's discuss.

Determine the magnitude and direction of the couple moment.

A:
M = 3900 lb-ft CW
B:
M = 3900 lb-ft CCW
C:
M = 3120 lb-ft CW
D:
M = 3120 lb-ft CCW
Answer: D
No answer description is available. Let's discuss.
Ad Slot (Above Pagination)
Quiz