Exercise: Force System Resultants

Questions for: Force System Resultants

Express the moment of the couple acting on the pipe on Cartesian vector form. What is the magnitude of the couple moment?

A:
Mc = (37.5i-25j) N-m, Mc = 45.1 N-m
B:
Mc = (25i-37.5j) N-m, Mc = 45.1 N-m
C:
Mc =45.1kN-m, Mc = 45.1 N-m
D:
Mc =-45.1kN-m, Mc = 45.1 N-m
Answer: A
No answer description is available. Let's discuss.

This structural connection is subjected to the 8,000-lb force. Replace this force by an equivalent force and couple acting at the center of the bolt group, O.

A:
F = (6400i+4800j) lb, M = (-3.20i+7.20j) kip-ft
B:
F = (-6400i-4800j) lb, M = -400k kip-ft
C:
F = (-6400i-4800j) lb, M = (-3.20i-7.20j) kip-ft
D:
F = (6400i+4800j) lb, M = 400k kip-ft
Answer: B
No answer description is available. Let's discuss.

Determine the moment of the force at A about point P. Use a vector analysis and express the result in Cartesian vector form.

A:
MP = (600i-200k) N-m
B:
MP = (800i-200j+1200k) N-m
C:
MP = (1200i+100k) N-m
D:
MP = (400i-200j+1200k) N-m
Answer: D
No answer description is available. Let's discuss.

The three forces acting on the water tank represent the effect of the wind. Replace this system by a single resultant force and specify its vertical location from point O.

A:
R = 600 lb, d = 65.0 ft below O
B:
R = 600 lb, d = 130.4 ft below O
C:
R = 600 lb, d = 65.0 ft above O
D:
R = 600 lb, d = 130.4 ft above O
Answer: D
No answer description is available. Let's discuss.

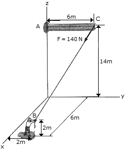
The man at B exerts a force of 140N on the rope attached to the end of beam AC as shown. Determine the moment of this force about the base of the beam at A.

A:
MA = (720i-360k) N-m
B:
MA = (-720i+360k) N-m
C:
MA = (-720i-360k) N-m
D:
MA = (720i+360k) N-m
Answer: C
No answer description is available. Let's discuss.
Ad Slot (Above Pagination)
Quiz