Questions for: Structural Analysis

Compute the force in each member of the Warren truss and indicate whether the members are in tension or compression. All the members are 3 m long.

The Pratt bridge truss is subjected to the loading shown. Determine the force in members CD, CL and ML, and indicate whether these members are in tension or compression.
Discuss About this Question.

A tower used in an electrical substation supports a power line which exerts a horizontal tension of T = 500 lb on each side truss of the tower as shown. Determine the force in members BC, CM, and LM of a side truss and indicate whether the members are in tension or compression.
Discuss About this Question.

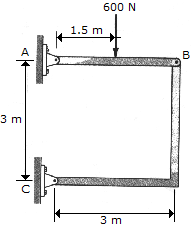
Determine the horizontal and vertical components of force at pins A and C of the two-member frame.
Discuss About this Question.

The Warren truss is used to support a staircase. Determine the force in members CE, ED, and DF, and state whether the members are in tension or compression. Assume all joints are pinned.
Discuss About this Question.
Discuss About this Question.